Сопромат → растяжение - сжатие стержня расчет онлайн
Артикул: sopr0002
Автор решения: admin
Расчет на прочность и жесткость стержня при растяжении сжатии. Задан ступенчатый стержень, нагруженный внешними сосредоточенными силами P и распределенными нагрузками…
Расчет на прочность и жесткость стержня при растяжении сжатии.
Задан ступенчатый стержень, нагруженный внешними сосредоточенными силами P и распределенными нагрузками q.
Необходимо для ступенчатого стержня выполнить следующее:
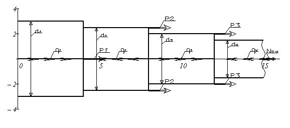
1. Начертить индивидуальную расчетную схему стержня.
2. Построить эпюру нормальных сил.
3. Построить эпюру нормальных напряжений
4. Построить эпюру перемещений.
5. Найти диаметры поперечных сечений участков стержняиз условия прочности при заданном коэффициенте запаса прочности.
6. Проверить и при необходимости обеспечить выполнение условия жесткости стержня.
Важно!
Если ваша задача из задачника Добровольского или Девятерикова (Исходная таблица.), то для заказа следует нажать "Добавить в корзину" и в окне оплаты в комментариях указать свой 4-х значный вариант. Либо написать мне |через сайт| в контакте| на почту|
Если у вас значения для расчета произвольные - нажимайте "заказать подобную задачу" и в окне заказа указывайте свои расчетные данные. Либо высылайте файл с заданием.
Вернуться в каталог
Часть готового решения
Задан ступенчатый стержень, нагруженный внешними сосредоточенными силами P и распределенными нагрузками q.
Необходимо для ступенчатого стержня выполнить следующее:
1. Начертить индивидуальную расчетную схему стержня.
2. Построить эпюру нормальных сил.
3. Построить эпюру нормальных напряжений
4. Построить эпюру перемещений.
5. Найти диаметры поперечных сечений участков стержняиз условия прочности при заданном коэффициенте запаса прочности.
6. Проверить и при необходимости обеспечить выполнение условия жесткости стержня.
При расчетах принять:
распределенная нагрузка Н/м
длина м
Сила
Модуль упругости стержня при растяжении (сжатии) Па
Предел текучести материала стержня Па
Допускаемое перемещение м
Решение: Вычерчиваем индивидуальную расчетную схему стержня, в соответствии с иходными данными.
Определяем реакцию опоры из условия статичтического равновесия стержня
откуда получаем
Используя метод сечений, определяем законы изменения нормальной силы на участках стержня.
Первый участок
при
Второй учаток
при
при
третий участок
при
при
четвертый участок
при
при
По полученным значениям строим эпюру нормальных сил
Обозначаем площадь поперечного сечения стержня диаметром d через и выражаем через F площади поперечных сечений участков стержня:
Вычисляем нормальные напряжения, действующие в поперечных сечениях, на участках стержня
Первый участок:
при
при
Второй участок:
при
при
Третий участок:
при
при
Четвертый участок
при
при
Используя закон Р. Гука в интегральной форме, находим перемещения на участках стержня.
Первый участок
при
при
при
Второй участок
при
при
при
Третий участок
при
при
Четвертый участок
при
при
при
Вычисляем допускаемое нормальное напряжение
Из условия прочности при растяжении (сжатии) стержня
вычисляем допускаемый диаметр
Проверяем выполнение условия жесткости стержня
с учетом того, что
допустимый диаметр стержня из условия жесткости стержня
Окончательно выбираем диаметр
Таким образом, окончательно принимаем:
При этих значениях поперечных размеров будет обеспечена как прочность так и жесткость стержня



